Random selection
Le_Gardien_de_phare_-_Camilla_Lackberg
TUTORIEL 1 - INSTALLER PFSENSE 2.7
Fine_Fleur_-_Septembre-Octobre-Novembre_2024
Alain Soral. Herve Ryssen, Pensees profondes, mars 2011
Grimper - Mars-Avril 2024
Revue_Automobile_-_5_Avril_2024
W._Scott-Elliot_-_L'HISTOIRE_DE_L'ATLANTIDE
Maurice_Denuziere_-_Au_Pays_Des_Bayous
Christie,Agatha_[N-xx]_Le_second_coup_de_gong_et_autres_nouvelles_-_8_nouvelles_(1991)_french.Alex
La Voix du Nord 3
Paul_Doherty_-_Le_Combat_des_Reines
Michel_Zevaco_-_Fleurs_de_Paris
Elizabeth George - Inspecteur Lynley 11 - Memoire infidele
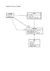
[EYROLLES] Les cahiers du programmeur - Java 1.4 et 5.0
Christie,Agatha_[Tommy_et_Tuppence-01]_Mr_Brown_(1922)_french.Alex
Nicolas_Beuglet_-Le_Cri
Psychologies_Hors-S_rie_-_F_vrier-Mars_2024
Valeurs_Actuelles_N°4132
Jean_(d)_Aillon_-_Londres,_1200
Le_Point_-_16_Mai_2024
L'Egypte_Ancienne_Poche_Pour_Les_Nuls
Aujourd_hui_en_France_du_Mercredi_18_Dec_2024
Jean_Rouaud_-_le_monde_a_peu_pres
Le Comte de Monte-Cristo Tome - II
Aujourd_hui_en_France_du_Mercredi_11_Dec_2024
CodeIgniter_for_Rapid_PHP_Application_Development_(PACKT.2007)
Liberation_du_Jeudi_5_Decembre_2024
Frédéric_Lenormand_-_Le_bon,_la_brute_et_le_juge_Ti
Marie-Helene_Parinaud_-_Vidocq_-_le_Napoleon_de_la_Police
Mediapart_du_Samedi_14_Decembre_2024
Go to page
1
Find book
Display settings
Grouping
Folder
Flat
Sorting criterion
Author
Date
Sorting order
Ascending
Descending